新闻资讯NEWS
联系我们CONTACT US
总部:江苏省无锡市梁溪区江海西路888号-C663
联系电话:13751809085
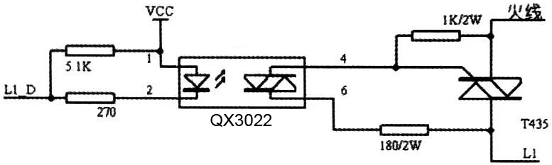
高压可控硅光耦(Photo Triac)
作者:admin发布时间:2025-04-10 15:03:13
高压可控硅输出光耦适合用于控制交流负载。 这种光耦,既有双向可控硅输出,也有单向可控硅输出。

过零型双向可控硅输出光耦,内置过
零检测模块,它在收到输入端的控制信号时,并不是马上开启双向可控硅模块,而是等到“过零”后才触发双向可控硅进行导通,这是在零点附
近进行启动,能有效地防止对负载和电网的冲击,减少电磁干扰。可控硅具有硅整流器件的特性,能在高电压、大电流条件下工作,且其工作过
程可以控制。

可控硅光耦被广泛应用于可控整流、交流调压、无触点电子开关、逆变及变频、可控硅调功器、电机控制与驱动、以及家用电器等产品。





